侧捆打包机已经广泛应用于各个行业,新伟嘉音小编跟大家分享一下侧捆打包机的打包带如何安装?在安裝 P.P.帶前,先把電源關掉。
1.將整捆 P.P.帶依包裝紙上的箭頭與帶盤上 的箭頭同一方向,放置在帶盤組的軸心上,然
後再將帶盤用把手#11 旋緊。
2.將 P.P.帶一端穿過拉桿上的導帶輪#12 扭轉 P.P. 帶後再穿過固定導帶輪#13,如圖所示
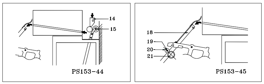
3.壓下哨型把手#15,把 P.P.帶穿入穿帶座#14,拉 出大約一米長,插入投射器。
4.從投射器#18 下方穿帶時,滾輪手柄#19 必須向 逆時針方向旋轉,使帶子經滾輪#20 及送帶輪 #21 之間,完成穿帶手續。

本文为青岛新伟嘉音自动化包装有限公司原创,版权所有,如需转载请注明出处和链接:
http://www.joinpack.net/news/show-18192.html
0532-84904176
邮箱:qingdaojiayin@126.com
地 址: 青岛市城阳区双元路皂户社区工业园内
销售部: 0532-84904176
邮 箱: qingdaojiayin@126.com